中国西南(云南元谋)新发现的小型猿类化石提供了已知最早长臂猿的证据。现今,长臂猿科现存20种,主要生活在中南半岛的亚洲热带、亚热带地区,包括我国华南和东南亚。在我国境内现存仅4-6种。然而,此类化石非常稀少,多数是发现于华南和东南亚不老于200万年前的洞穴地点中。云南元谋新发现的被命名为元谋小猿(Yuanmoupithecus xiaoyuan)的小型猿类,被科学家团队确定为迄今发现的最早的长臂猿,这一发现将长臂猿化石记录向前推至距今7-8百万年前。论文于9月13日发表于国际人类学领域经典刊物《Journal of Human Evolution(人类进化)》杂志。来自E乐彩,纽约大学、中国科学院古脊椎动物与古人类研究所、云南省文物考古研究所、中国科学院地质与地球物理研究所、云南大学、楚雄州博物馆和元谋人博物馆的学者参加了此项考察和研究。
研究团队详细描述了收藏于云南省文物考古研究所、元谋人博物馆、昆明动物博物馆的元谋小猿牙齿和新发现的不到两岁的不完整的左下侧面骨化石。牙齿和面骨的形态特征与现生长臂猿尤其是冠长臂猿类非常相似,但有些特征更原始,指示其可能为所有现生长臂猿的祖先。根据元谋小猿牙齿大小计算,元谋小猿与现生长臂猿的平均体重相近,大约为6千克左右。
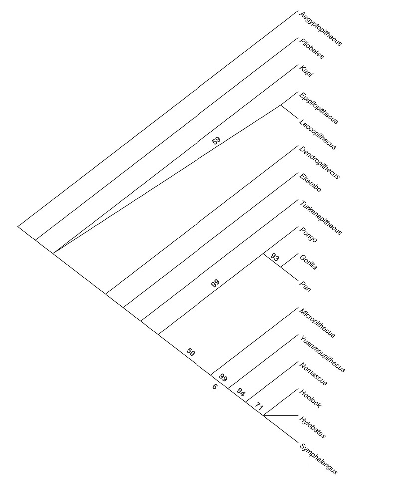
此前发现于印度中中新世(距今12.5-13.8百万年)的一枚下第三臼齿,被命名为Kapi ramnagarensis, 原研究者声称为更早的长臂猿,研究团队经过详细的分析对比证实,这一发现不是长臂猿,而是与现生猿类没有密切关系的更原始的灵长类,可能与印度晚中新世古猿有亲缘关系。
该研究项目负责人,昆明动物所昆明动物博物馆研究员吉学平,在一次野外调查中发现了元谋小猿幼年面骨这一关键的标本,他多次到昆明动物所标本库与现生长臂猿头骨进行对比,确认标本属于长臂猿类,并到古脊椎所开展了高精度CT扫描。2018年,邀请纽约大学人类进化中心教授Terry Harrison及其他合作者,对云南省文物考古研究所和元谋人博物馆过去30年来收藏的出自元谋的长臂猿牙齿标本开展研究,首次得知长臂猿祖先类群面部特征的信息。尽管元谋小猿标本非常稀少,但经过细致的分析对比研究,最终可以证实元谋小猿是现生长臂猿的晚中新世时期的最可能的直接祖先。
该研究项目的主要合作者,Terry Harrison认为:元谋小猿的发现填补了之前一直不清楚的东亚小型猿类进化史的一段空白。遗传学研究表明,长臂猿从人和猿共同祖先的支系分化出来的时间大约是距今22-17百万年,而冠长臂猿类祖先分化的时间大约为距今8百万年前。此次发现连同之前云南昭通发现的金丝猴最早的祖先--中猴化石的证据表明,分子证据与化石证据推断的物种起源时间基本吻合,古生物形态学和分子生物学研究结果可以相互印证。然而,关于长臂猿科的演化,目前还有1000多万年的“缺环”有待发现,在华南和东南半岛持续的野外科考可能发现更多的长臂猿进化史的关键证据,尤其是6-2百万年间的空白时段,这一时段也是古老型灵长类动物群向现代型灵长类动物群交替的关键时期。
该研究得到国家自然科学基金、云南省自然科学基金基础研究重点项目、中科院战略先导B计划等项目的经费资助。

图1. 元谋小猿幼年上颌骨Infant maxilla_recompress
图2. 元谋小猿MicroCT影像图

图3.元谋小猿的分支系统关系

图4.元谋小猿生活场境复原图,陈瑜绘图
元谋小猿面骨的CT三维动画效果中科院古脊椎所MicroCT室 侯叶茂 制作video